Перейти к содержанию
Форумы о ремонте и строительстве

Помогите пожалуйста с водопроводом.

Оценить эту тему:


Рекомендуемые сообщения

Опубликовано

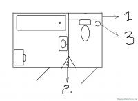
Здравствуйте,решил в санузле делать ремонт.Но возник ряд вопросов,санузел у меня небольшой и раздельный,так вот водопровод идет в перегородке а мне нужно поставить счетчики на воду,коллектора,бойлер и т.д.так вот вопрос в том что я хочу все это установить над унитазом возле канализационного стояка.Посоветуйте пожалуйста какими трубами сделать разводку и как если можно все сместить в нужное место,в общем хочу услышать мысли профессионалов.на картинке нарисовал как мог-Под номером 1-вент-шахта,номер 2-стояки ХВС и ГВС,номер 3-стояк канализации.Всех заранее благодарю за ответы.

post-92042-0-52046500-1391275479_thumb.jpg

 ... мне нужно поставить счетчики на воду,коллектора,бойлер и т.д. так вот вопрос в том что я хочу все это установить над унитазом возле канализационного стояка.

В углу возле стояков - отсекающие краны, фильтр-грязевик, счетчик водомер и обр. клапан, далее от них транзитные  трассы к остальным приборам, которые хотите установить над унитазом возле канализационного стояка.

Пример на фото

post-3123-0-87525000-1391276557_thumb.jpg

post-3123-0-05349900-1391276567_thumb.jpg

post-3123-0-85056100-1391276675_thumb.jpg

Получается нужно будет делать 2 ревизионных люка?Еще вопрос,какой диаметр трубы нужно идущей от стояков до коллектора и какой от коллекторов до водорозеток?

От стояков до коллекторов вн.диаметр трубы не должен быть меньше вн. диаметра врезки в стояк. От коллекторов до приборов на выбор - если МП = 16, если ПП = 20,если  Ре-Х = 16

@Tehnik-san, у него идиотское расположение стояков, допустимо ли сделать в них врезки под потолком или у пола, перевести на другую стену, за унитаз, и там уже устанавливать запорную арматуру и водосчетчики?

Здравствуйте. Чтобы дать  ответ более или менее правильный,чертежа мало. Я не знаю политику дома в котором вы живете. Можно протянуть от стояка сшитый полиэтилен или пропилен,виега нержавейка круто-как по качеству так и по деньгам(не металлопласт),НО!!! обязательно на стояке поставить запорную арматуру. Без дополнительного лючка вам не обойтись. Но в этом случае он будет маленький. Этот вариант годен только в том случае,если уверенны что у вас не будет головной боли с тем,кто штрафует за не правильную установку счетчиков. Так как в большинстве правил,счетчик должен устанавливаться сразу после запорной арматуры на стояке. Во втором случае,вам придется установить счетчик сразу после крана на стояке,в этом случае люк будет больше. После счетчика пустить трубу в сторону туалета, и собрать узел водоподготовки с коллекторами. Одним люком вам не обойтись в любом случае.Счетчики установите вертикально,этим сэкономите пространство для короба(в котором центральные стояки).   Если вы решите путем сварочных работ,провести сначала стальную трубу от стояка до туалета(для одного люка)такой вариант,по моему мнению,не очень удачный. Писать почему,времени уже нет.

Технически, всё мною написанное,не совсем правильно. Так как по правилам,доступ к центральным коммуникациям должен быть свободным. Поэтому Дмитрий и не может дать вам ответ. Ответить,значит намеренно посоветовать вам противозаконные действия. Вы не правильно задали вопрос,на который хотите получить ответ.

Все работы проводятся по умолчанию.

:) По поводу резьб. Анаэроб Siseal средней фиксации. Только без фанатизма. Резьбы обязательной разборки лён и унипак. Обязательная разборка это- американки для водосчетчиков.

... идиотское расположение стояков, допустимо ли сделать в них врезки под потолком или у пола, перевести на другую стену, за унитаз, и там уже устанавливать запорную арматуру и водосчетчики?

Переносить стояки по потолку и по полу только из-за удобства расположения узла водоучета я бы в данном случае  не стал, потому как такой перенос требует согласования и лишних вложений за "штампик"  + увеличивается риск протечек на стояке ГВС, именно на замурованном в стяжку участке из-за тепловых подвижек. Если внимательно приглядеться к узлу ввода на втором и на третьем фото, то можно заметить, что вначале я не поставил расширительный бачок на трассу ГВС до фильтра, но после того, как давление в статике, ночью выросло до 13кг, я эту оплошность исправил. Поясню - за счетчиком установлен обр. клапан, который запирает хол.воду за собой и хоть в стояке будет всего  3кг, то хол. вода приходящая в квартиру с температурой 7гр. нагреваясь без разбора воды до комнатной температуры и дает такой критический  рост давления в трубопроводе

Григорич... :) Вопрос был про отводы а не стояки, и про расширительный бачок это из другой темы. Заработался? :)

Борис, раз уж вопрос про отводы, тогда я полагаю что такое точно не дадут совершить. При длинных отводах от стояка к водомерному узлу,  возникает сразу вопрос, не врезались вы где нибудь по этой длинной трассе, чтобы втихарца отбирать воду ? 

А если только на сварке? Вопрос не праздный, приходится иногда встречаться с таким расположением стояков.

А если только на сварке? 

Во многом зависит от "человека с ружьём" , т.е. с пломбиратором. Но нормативные требования неумолимы и ограничивают полет фантазии  - квартирные водомеры должны быть установлены непосредственно возле стояков. 

Для публикации сообщений создайте учётную запись или авторизуйтесь

Вы должны быть зарегистрированным пользователем, чтобы оставить комментарий

Создать учетную запись

Зарегистрируйтесь в нашем сообществе.

Зарегистрироваться

Войти

Уже есть аккаунт? Войти в систему.

Войти

Или войти с помощью одного из сервисов



  • Наши рекомендации

    • Подходы к ремонту старых домов в России
      В России сотни тысяч старых домов, многие из которых являются не только свидетельством исторического наследия, но и отражением уникальной культуры и традиций страны. Эти дома, будь то деревянные избы или старинные каменные постройки, сохраняют в себе дух времени и рассказывают историю поколений.

      • 0 ответов
    • Дома из сруба: идеальное сочетание уюта и прочности.
      Строительство собственного дома является важной вехой в жизни любого человека, поскольку оно знаменует собой важное событие. Выбор строительных материалов имеет огромное значение для создания теплого и функционального жилища. На протяжении всей древней истории древесина была распространенным материалом для строительства домов, что отразилось на различных культурах мира.

      • 0 ответов
    • Газовые котлы: эффективное, экономичное и экологичное решение для отопления вашего дома
      В современном мире, где комфорт и устойчивость стали ключевыми аспектами повседневной жизни, выбор правильного источника отопления дома становится особенно актуальным. Газовые котлы, сочетая в себе преимущества эффективности, экономичности и экологичности, представляют собой одно из наиболее популярных решений для обеспечения комфортной температуры в жилых и коммерческих помещениях.

      • 0 ответов
    • Люк для кошек своими руками
      Разумеется давно придуманы и продаются специальные лючки для кошек, которые можно врезать в дверь, но мы ведь не ищем легких путей . Да и по зоомагазинам я не хожу, а "гугление" показало, что такие люки для кошек стоят относительно не дешево. В то же время под рукой были два "копеечных" сантехнических пластиковых лючка для ГКЛ. Все что оставалось, так это обломать фиксаторы крышек, что бы они открывались в обе стороны, ровно выпилить отверстие в двери, да вклеить симметрично эти лючки.

      То, что получилось видно на фото. Разумеется это не для тех, у кого "дизайнерский ремонт", но для обыкновенной квартиры вполне подходит. Недостатков не замечено, животных и людей всё устраивает .


      Реакцию форумчан на этот люк можно узнать в этой теме https://homemasters.ru/...me/?p=330637

        • Ого
      • 6 ответов
    • Как построить теплый дом, не тратя лишних денег
      Строительство гостевого дома решил выделить в отдельную тему, так будет меньше путаницы.


        • Спасибо
        • Нравится
      • 259 ответов
    • Аккумуляторные пилы  SCW и  SCM  22-A
      После того как провёл тесты, приступил к самому главному. Поменять диски местами, и проверить, как инструмент на это отреагирует, ведь они внешнее и походу внутренне практически одинаковые, пила по дереву конечно более навороченее, есть настройки угла наклона и можно на шину посадить через адаптер.

      • 4 ответа
    • Кажись всё или строительный пылесос с тройной мультициклонной ступенью очистки
      Кажись всё или строительный пылесос с тройной мультициклонной ступенью очистки

        • Нравится
      • 16 ответов
    • Вторая жизнь дивана: искусство ремонта мягкой мебели своими руками
      В эпоху беспрерывного потребления и стремления к новизне, ремонт старой мягкой мебели своими руками приобретает не просто практическое, но и глубоко философское значение. Это действие как знак уважения к труду мастеров, которые вложили свое мастерство в создание диванов, кресел и пуфов, и как воплощение идеи устойчивого потребления. С каждым возвращенным к жизни предметом мебели, мы не только сохраняем историю и уникальность каждого изделия, но и противостоим бездумному обновлению интерьера за счет экологии и рационального использования ресурсов.

        • Нравится
      • 0 ответов
×
×
  • Создать...

Важная информация

Мы разместили cookie-файлы на ваше устройство, чтобы помочь сделать этот сайт лучше. Вы можете изменить свои настройки cookie-файлов, или продолжить без изменения настроек.