Перейти к содержанию
Форумы о ремонте и строительстве

Покритикуйте схему пожалуйста!

Оценить эту тему:


VSA_smile

Рекомендуемые сообщения

Опубликовано

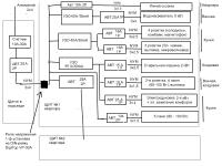
Здравствуйте, дорогие форумчане. Заранее спасибо за помощь. Устроил ремонт в старой двухкомнатной хрущевке. Прошу консультации в составленной мной схеме (ремонт пока коснулся только ванной и кухни, поэтому что планирую во второй щиток пока не знаю). Немного по схеме:- зануление в квартире думаю не делать (ссылаясь на описанное в форуме о домах в которых оно было не предусмотрено - нечего выдумывать :rolleyes: );- кабель пустить намерен тройной, но заземляющий провод не к чему не присоединять;- провода намерен пустить в стяжке пола, прорубив штробы, а после прокладки залив цементным раствором;

post-21602-1233749379_thumb.jpg

всё конешно здорово и замечательно - НО на вводе автомат на 25А - включение проточника 5кВт + любая нагрузка ватт в 500 отрубит вам вводной сразу, про то что ещё и плита электрическая я молчуначните с начало - какой вводной стоял, и что изначально было с проводкой?

А было еще хуже! Автомат стоит пока на 16 А., а проводка старая алюминием. Разговоры с електросетями о повышении выделенной на квартиру мощности - ответ был однозначный:"На одну вашу квартиру никто повышать не будет, вот если на весь дом..., но жалоб никаких небыло"А водогрей уже купил... Понимаю уже, что поспешил от незнания, но что делать....? Есть ли выход?А плита не электрическая. Имелось в виду электрический поджиг и электро духовка (пока еще не купил).

Аналогичный случАй и у меня. Только, в приватном разговоре с жековским электриком, было сказано, что персональный ввод от щита из подвала на 4-й этаж пятиэтажки обойдётся мне в 15 т.р., после чего с молчаливого согласия электросбыта, был установлен вводной автомат 25 А(был тоже 16 А) и идея с официальным повышением допустимой мощности была похерена. :) ЗЫ Поменяй водогрей на газовый, если получится, и спокойно юзай 25А на вводе.

Водогрей ТАКОЙ не пойдёт однозначно!Определись насколько он тебе нужен, если без горячей воды не жизнь - ставь водонагреватель накопительного типа (бывают до 100 литров, вертикальные/горизонтальные, мощность порядка 2кВт). Я думаю, там где брал проточный на накопительный бак спокойно поменяют, по цене он подороже (до 7 т.р), а пользоваться будет гораздо удобнее (давить будет не в один кран, а по всей квартире + гораздо выше безопасность).Соответственно, духовку ставь газовую. Иначе при включении духовки, бака, света и чайника будет выбивать вводной автомат.Но хуже будет если он будет постоянно греться не доходя до грани срабатывания - может потом, когда надо, не отключиться.

... персональный ввод от щита из подвала на 4-й этаж пятиэтажки обойдётся мне в 15 т.р., после чего с молчаливого согласия электросбыта, был установлен вводной автомат 25 А...

Оптимальный вариант. Но за такие деньги 25А мало. Я бы стряс не менее 40А. :)

Да особой нужды в нем нет. У нас вода горячая практически постоянно есть (отключают пока только на профилактику 2 недели в летний период). Просто делая ремонт хочеться предусмотреть все возможные варианты дабы потом не ломать плитку, не подводить трубы,.... А водогрей и так проточно-накопительный. Polaris Stream 5,0-30V В нем резервуар на 30л., а уж если не хватило - тогда проточно нагреваеться. Хотя все равно сути не меняет - 5 кВт есть 5 кВт :angry: Спасибо всем за советы

Для публикации сообщений создайте учётную запись или авторизуйтесь

Вы должны быть зарегистрированным пользователем, чтобы оставить комментарий

Создать учетную запись

Зарегистрируйтесь в нашем сообществе.

Зарегистрироваться

Войти

Уже есть аккаунт? Войти в систему.

Войти

Или войти с помощью одного из сервисов



  • Наши рекомендации

    • Газовые котлы: эффективное, экономичное и экологичное решение для отопления вашего дома
      В современном мире, где комфорт и устойчивость стали ключевыми аспектами повседневной жизни, выбор правильного источника отопления дома становится особенно актуальным. Газовые котлы, сочетая в себе преимущества эффективности, экономичности и экологичности, представляют собой одно из наиболее популярных решений для обеспечения комфортной температуры в жилых и коммерческих помещениях.

      • 0 ответов
    • Как построить теплый дом, не тратя лишних денег
      Строительство гостевого дома решил выделить в отдельную тему, так будет меньше путаницы.


        • Спасибо
        • Нравится
      • 257 ответов
    • Кажись всё или строительный пылесос с тройной мультициклонной ступенью очистки
      Кажись всё или строительный пылесос с тройной мультициклонной ступенью очистки

        • Нравится
      • 16 ответов
    • Вторая жизнь дивана: искусство ремонта мягкой мебели своими руками
      В эпоху беспрерывного потребления и стремления к новизне, ремонт старой мягкой мебели своими руками приобретает не просто практическое, но и глубоко философское значение. Это действие как знак уважения к труду мастеров, которые вложили свое мастерство в создание диванов, кресел и пуфов, и как воплощение идеи устойчивого потребления. С каждым возвращенным к жизни предметом мебели, мы не только сохраняем историю и уникальность каждого изделия, но и противостоим бездумному обновлению интерьера за счет экологии и рационального использования ресурсов.

        • Нравится
      • 0 ответов
    • Подходы к ремонту старых домов в России
      В России сотни тысяч старых домов, многие из которых являются не только свидетельством исторического наследия, но и отражением уникальной культуры и традиций страны. Эти дома, будь то деревянные избы или старинные каменные постройки, сохраняют в себе дух времени и рассказывают историю поколений.

      • 0 ответов
    • Дома из сруба: идеальное сочетание уюта и прочности.
      Строительство собственного дома является важной вехой в жизни любого человека, поскольку оно знаменует собой важное событие. Выбор строительных материалов имеет огромное значение для создания теплого и функционального жилища. На протяжении всей древней истории древесина была распространенным материалом для строительства домов, что отразилось на различных культурах мира.

      • 0 ответов
    • Аккумуляторные пилы  SCW и  SCM  22-A
      После того как провёл тесты, приступил к самому главному. Поменять диски местами, и проверить, как инструмент на это отреагирует, ведь они внешнее и походу внутренне практически одинаковые, пила по дереву конечно более навороченее, есть настройки угла наклона и можно на шину посадить через адаптер.

      • 4 ответа
    • Люк для кошек своими руками
      Разумеется давно придуманы и продаются специальные лючки для кошек, которые можно врезать в дверь, но мы ведь не ищем легких путей . Да и по зоомагазинам я не хожу, а "гугление" показало, что такие люки для кошек стоят относительно не дешево. В то же время под рукой были два "копеечных" сантехнических пластиковых лючка для ГКЛ. Все что оставалось, так это обломать фиксаторы крышек, что бы они открывались в обе стороны, ровно выпилить отверстие в двери, да вклеить симметрично эти лючки.

      То, что получилось видно на фото. Разумеется это не для тех, у кого "дизайнерский ремонт", но для обыкновенной квартиры вполне подходит. Недостатков не замечено, животных и людей всё устраивает .


      Реакцию форумчан на этот люк можно узнать в этой теме https://homemasters.ru/...me/?p=330637

        • Ого
      • 6 ответов
×
×
  • Создать...

Важная информация

Мы разместили cookie-файлы на ваше устройство, чтобы помочь сделать этот сайт лучше. Вы можете изменить свои настройки cookie-файлов, или продолжить без изменения настроек.