Перейти к содержанию
Форумы о ремонте и строительстве

Охранная сигнализация, проводное подключение датчиков, резисторы?

Оценить эту тему:


bobroff

Рекомендуемые сообщения

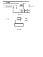
А чем будет управляться система? В вашем перечне нет пульта.Схема подключения охранных датчиков:post-27190-1293231317_thumb.pngС дымовыми датчиками надо разобраться. ИП 212-45 питаются по шлейфу сигнализации, то есть подключаются по двум проводам, в вашей пенели шлейфы пассивные - к ним нельзя подключать токопотребляющие извещатели - датчики должны быть четырехпроводные (питание на них подается по отдельной паре проводов).

А чем будет управляться система? В вашем перечне нет пульта.

Схема подключения охранных датчиков:

post-27190-1293231317_thumb.png

С дымовыми датчиками надо разобраться. ИП 212-45 питаются по шлейфу сигнализации, то есть подключаются по двум проводам, в вашей пенели шлейфы пассивные - к ним нельзя подключать токопотребляющие извещатели - датчики должны быть четырехпроводные (питание на них подается по отдельной паре проводов).

Управляться будет пультом и клавиатурой. Не написал сразу - т.к, к датчикам это отношение не имеет.

Спасибо за схему подключения, буду ее использовать при установки сигнализации. Есть ли разница как стороной резистор вставлять в цепь?

Про дымовые датчики - вообще, если их открыть то в них 4 контакта подключения, пронумерованные: 1, 2, 3, 4.

Инструкция по установке: http://www.ravelinspb.r..._pasport.pdf На странице 9 вроде нарисован вариант подключение к пассивным шлейфам. Или я не прав?

Может легче другие датчики поставить?

Про дымовые датчики - вообще, если их открыть то в них 4 контакта подключения, пронумерованные: 1, 2, 3, 4.

Да вних четыре контакта: 1 - выход выносного оптического устройства (светодиод) - используется когда извещатель установлен за потолком или под полом, при обычной установке не используется.

2 - + шлейфа

3 и 4 - на этих контактах рвется минус шлейфа, при установленном датчике они замкнуты, при снятии датчике - разомкнуты (авария шлейфа)

На 9 странице вариант подключения этих датчиков с использованием устройства сопряжения УС-2, если у вас датчики с УС-2 - подключайте по этой схеме.

Резистор вставляется любой стороной.

Да вних четыре контакта: 1 - выход выносного оптического устройства (светодиод) - используется когда извещатель установлен за потолком или под полом, при обычной установке не используется.2 - + шлейфа3 и 4 - на этих контактах рвется минус шлейфа, при установленном датчике они замкнуты, при снятии датчике - разомкнуты (авария шлейфа)На 9 странице вариант подключения этих датчиков с использованием устройства сопряжения УС-2, если у вас датчики с УС-2 - подключайте по этой схеме.Резистор вставляется любой стороной.

К сожалению датчик без УС-2, надо искать другие варианты...

К сожалению датчик без УС-2, надо искать другие варианты...

А вариантов не много:1. купить УС-022. Приобрести четырехпроводные датчики3. подключить имеющиеся дымовики через адаптер токового датчика

А вариантов не много:1. купить УС-022. Приобрести четырехпроводные датчики3. подключить имеющиеся дымовики через адаптер токового датчика

1. не нашел чтобы они отдельно продавались.2. думаю самый оптимальный вариант.3. а это как? :unsure:

3. а это как? :unsure:

Есть такой приборчик - АТД, к нему подключается обычный шлейф с двухпроводными датчиками и питание 12 в, а с него выход в виде сухих контактов в пассивный шлейф.

Есть такой приборчик - АТД, к нему подключается обычный шлейф с двухпроводными датчиками и питание 12 в, а с него выход в виде сухих контактов в пассивный шлейф.

Сдаётся мне, что есть пож. датчики, включающиеся в охранный шлейф, как охранные. Во всяком случае, тепловые точно работают на размыкание. Быть может, стОит поискать пож.датчики ака тепловые? ИП212 - не прокатят, точно.

ЗЫ С другой стороны, bobroff, нафик тебе нужны пожарные датчики(дымные)? Если в помещении есть ИК-датчик, он на возгорание сработает однозначно, поверь нА слово. Не ищи себе проблем... :)

Сдаётся мне, что есть пож. датчики, включающиеся в охранный шлейф, как охранные.

это и есть четырехпроводные дымовики
  • 1 месяц спустя...

это и есть четырехпроводные дымовики

Уже неделю ищу у нас в городе 4-ех проводные датчики, везде говорят что временно с ними проблемы с поставкой.Кто может, киньте ссылку на какой-нибудь АТД, а то тоже не могу их найти...Заранее, спасибо...

Сухой Лог - Рядом с Екатеринбургом

Если можно, опишите принцип, как он вставляется в цепь. Имхо, меня смущает, что в его описание написано, что он предназначен для каких-то специальных устройств.

Если можно, опишите принцип, как он вставляется в цепь. Имхо, меня смущает, что в его описание написано, что он предназначен для каких-то специальных устройств.

Представляет собой небольшую монтажную плату с клеммами для подключения проводов. post-27190-1298485571_thumb.jpgприходилось подлючать его не только с теми устройствами для которых он предназначен, но и в других системах, в принципе он универсален. Единственное что надо сделать - подобрать наминал шунтирующего сопротивления. В режиме "норма" на выходе АТД 5,6 кОм, в режиме "пожар" - обрыв. В вашей системе "норма" - 1 кОм, "тревога" 2-6 кОм. Ставим параплельно выхода АТД шунтирующее сопротивление 2 кОм - получим в режиме "норма" - 1,4 кОм, в режиме "пожар" - 2 кОм, что собственно вам и надо.
  • 2 недели спустя...

Начинаю устанавливать датчики протечки воды
Купил Waterguard 1000-H2O
Как я понял, они являются нормально-разомкнутыми датчиками, в то время как к контрольной панели Jablotron подключаются нормально-замкнутые датчики.
Вопрос: как их переделать в нормально-замкнутые датчики?

как вариант поставить промежуточное реле - любое (зависит от вашего рабочего напряжения)

Начинаю устанавливать датчики протечки воды

Купил Waterguard 1000-H2O 

У вас два варианта:

1. Подключить по следующей схеме:

post-27190-1299693362_thumb.png

минус данного подключения в том что панель при сработке датчика будет определять ее как сработку тампера. Можно настроить реакцию панели на данную сработку (пункт 12.29 в инструкции на панель)

2. Как написали выше ввести в схему подключения датчиков промежуточное реле на 12 вольт и получить нормально-замкнутые контакты.

У вас два варианта: 1. Подключить по следующей схеме: post-27190-1299693362_thumb.png минус данного подключения в том что панель при сработке датчика будет определять ее как сработку тампера. Можно настроить реакцию панели на данную сработку (пункт 12.29 в инструкции на панель) 2. Как написали выше ввести в схему подключения датчиков промежуточное реле на 12 вольт и получить нормально-замкнутые контакты.

А если поставить резистор не 1,5 кОм, а 2-6 кОм? В инструкции написано: "Замыкание с СОМ через резистор 2-6 кОм = шлейф нарушен."

При сработке датчика в шлейфе два резистора подключенных параллельно. Сопротивление будет равно произведение этих двух сопротивлений разделить на их сумму. Одно из них 1 ком, какое бы мы не подцепили параллельно сопротивление - общее будет не более 1 ком.

Для публикации сообщений создайте учётную запись или авторизуйтесь

Вы должны быть зарегистрированным пользователем, чтобы оставить комментарий

Создать учетную запись

Зарегистрируйтесь в нашем сообществе.

Зарегистрироваться

Войти

Уже есть аккаунт? Войти в систему.

Войти

Или войти с помощью одного из сервисов



  • Наши рекомендации

    • Подходы к ремонту старых домов в России
      В России сотни тысяч старых домов, многие из которых являются не только свидетельством исторического наследия, но и отражением уникальной культуры и традиций страны. Эти дома, будь то деревянные избы или старинные каменные постройки, сохраняют в себе дух времени и рассказывают историю поколений.

      • 0 ответов
    • Как построить теплый дом, не тратя лишних денег
      Строительство гостевого дома решил выделить в отдельную тему, так будет меньше путаницы.


        • Спасибо
        • Нравится
      • 260 ответов
    • Газовые котлы: эффективное, экономичное и экологичное решение для отопления вашего дома
      В современном мире, где комфорт и устойчивость стали ключевыми аспектами повседневной жизни, выбор правильного источника отопления дома становится особенно актуальным. Газовые котлы, сочетая в себе преимущества эффективности, экономичности и экологичности, представляют собой одно из наиболее популярных решений для обеспечения комфортной температуры в жилых и коммерческих помещениях.

      • 0 ответов
    • Вторая жизнь дивана: искусство ремонта мягкой мебели своими руками
      В эпоху беспрерывного потребления и стремления к новизне, ремонт старой мягкой мебели своими руками приобретает не просто практическое, но и глубоко философское значение. Это действие как знак уважения к труду мастеров, которые вложили свое мастерство в создание диванов, кресел и пуфов, и как воплощение идеи устойчивого потребления. С каждым возвращенным к жизни предметом мебели, мы не только сохраняем историю и уникальность каждого изделия, но и противостоим бездумному обновлению интерьера за счет экологии и рационального использования ресурсов.

        • Нравится
      • 0 ответов
    • Аккумуляторные пилы  SCW и  SCM  22-A
      После того как провёл тесты, приступил к самому главному. Поменять диски местами, и проверить, как инструмент на это отреагирует, ведь они внешнее и походу внутренне практически одинаковые, пила по дереву конечно более навороченее, есть настройки угла наклона и можно на шину посадить через адаптер.

      • 4 ответа
    • Дома из сруба: идеальное сочетание уюта и прочности.
      Строительство собственного дома является важной вехой в жизни любого человека, поскольку оно знаменует собой важное событие. Выбор строительных материалов имеет огромное значение для создания теплого и функционального жилища. На протяжении всей древней истории древесина была распространенным материалом для строительства домов, что отразилось на различных культурах мира.

      • 0 ответов
    • Люк для кошек своими руками
      Разумеется давно придуманы и продаются специальные лючки для кошек, которые можно врезать в дверь, но мы ведь не ищем легких путей . Да и по зоомагазинам я не хожу, а "гугление" показало, что такие люки для кошек стоят относительно не дешево. В то же время под рукой были два "копеечных" сантехнических пластиковых лючка для ГКЛ. Все что оставалось, так это обломать фиксаторы крышек, что бы они открывались в обе стороны, ровно выпилить отверстие в двери, да вклеить симметрично эти лючки.

      То, что получилось видно на фото. Разумеется это не для тех, у кого "дизайнерский ремонт", но для обыкновенной квартиры вполне подходит. Недостатков не замечено, животных и людей всё устраивает .


      Реакцию форумчан на этот люк можно узнать в этой теме https://homemasters.ru/...me/?p=330637

        • Ого
      • 6 ответов
    • Кажись всё или строительный пылесос с тройной мультициклонной ступенью очистки
      Кажись всё или строительный пылесос с тройной мультициклонной ступенью очистки

        • Нравится
      • 16 ответов
×
×
  • Создать...

Важная информация

Мы разместили cookie-файлы на ваше устройство, чтобы помочь сделать этот сайт лучше. Вы можете изменить свои настройки cookie-файлов, или продолжить без изменения настроек.