Перейти к содержанию
Форумы о ремонте и строительстве

Помогите опредлить место для полотенцесушителя в ванной комнате.

Оценить эту тему:


Рекомендуемые сообщения

Опубликовано

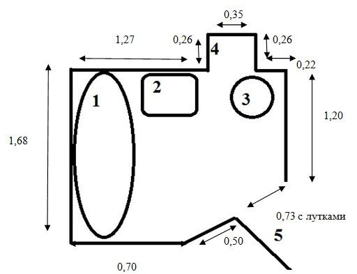
План Ванной комнаты          

807fbee6e171.jpg                               
1. Ванная (за ванной идет кухня куда и продлеваются трубы)
2. Умывальник(который уберется вместо него будет машинка)
3. Унитаз (там и останется наверно)
4. Ниша всех труб и стояк (может ее сровнять со стеной?)
5. Дверь (возможно будет раздвижная)
Над умывальником зеркала нет. Но есть полотенцесушитель.  Вопрос Куда его переместить? Сантехник говорит что по правилам он не там находится и нужно его переместить на стену (1,2) к унитазу, но меня это не устраивает так как не хочу головой упираться в полотенце, которое будет вечно падать. Посоветуйте альтернативу. Потому что я вижу его только там и все.

может ее сровнять со стеной?
Ну закрыть наверное можно.
Сантехник говорит что по правилам он не там находится и нужно его переместить на стену
Чем он это обосновывает? Щас полотенчик работает? Если да, то пусть там и висит 

Не забываем установить аватар, заполнить профиль, и создать свой блог

https://homemasters.ru/

Доброго дня. Полотенчик в прицепе можно установить в любом месте где вам будет удобно. При правильном подключении и учитывая диаметр труб(диаметр труб идущих к полотенчику (должны быть не менее 3/4 внутренний диаметр), можно использовать сшитый полиэтилен . Необходимо уточнить подачу(направление движения) воды в стояке ГВС, при необходимости переварить стояк ГВС. Сам полотенчик, если это будет "лесенка" посоветую подключить диагонально или боковым подключением.post-83827-0-88096200-1453285493_thumb.jpgpost-83827-0-58867000-1453285526_thumb.jpg

Ну закрыть наверное можно.

Чем он это обосновывает? Щас полотенчик работает? Если да, то пусть там и висит 

Да. сейчас все работает НО в ужасном состоянии. И этот ужас выглядит так...

130128a5ddba.jpg

Единственный момент хотим обновить все так как трубам уже более 30 лет. Снять умывальник, на его место поставить машинку. Обосновывает тем что полотенчик висит не там где должно висеть по "закону". По какому закону оно ему мешает я не могу понять. Если ставить на стенку там где ванная вдоль, это нужно будет удлинять + неудобно так как там кран и душ, или дополнительно как я поняла насос ставить. Над унитазом тоже не вариант. На противоположную стенку ставить там только электрический так как проводки нет....

По поводу ниши ка по мне она слишком углубленная, 26 сантиметров. Расматриваю вариант ее закрыть раздвижной дверцой, но будет ли уместно сделать там полочки для хранения хим товаром/ туалетной бумаги и т.д. ?

По какому закону оно ему мешает я не могу понять.
А Вы у него спросите, по какому закону он хочет изменить проектное размещение полотенчика, посколько, судя по фото, полотенчик у вас висит так именно по проету дома.
но будет ли уместно сделать там полочки для хранения хим товаром/ туалетной бумаги и т.д.
А почему нет. Не продукты же

Не забываем установить аватар, заполнить профиль, и создать свой блог

https://homemasters.ru/

чтоб в любом месте подключить необходимо доп. ресурсы. На самом деле интересовал именно вопрос переноса в другое место, но как выходит сантехник что-то намудрил видимо чтоб себе цену набить)) При это сделал акцент на том что зачем стену полотенчиком завешивать. сделайте лучше полку или зеркало повесьте... а его переместите над унитазом к примеру над головой.  Подскажите где можно почитать по каким правилам должен размещаться полотенчик/унитаз ванна эсли оно все совмещено?

Подскажите где можно почитать по каким правилам должен размещаться полотенчик/унитаз ванна эсли оно все совмещено?
Rrb[ то законодательных правил я н знаю, только чиста технические. Поставите полотеньчик в 100 метрах от стояка, он просто работать не будет

Не забываем установить аватар, заполнить профиль, и создать свой блог

https://homemasters.ru/

чтоб в любом месте подключить необходимо доп. ресурсы. На самом деле интересовал именно вопрос переноса в другое место, но как выходит сантехник что-то намудрил видимо чтоб себе цену набить)) При это сделал акцент на том что зачем стену полотенчиком завешивать. сделайте лучше полку или зеркало повесьте... а его переместите над унитазом к примеру над головой.  Подскажите где можно почитать по каким правилам должен размещаться полотенчик/унитаз ванна эсли оно все совмещено?

После установленных на стояках ГВС и ХВС кранов наступает ваша ответственность, обычно при замене отопления и водоснабжения У.К. просит подписать соглашение что теперь ответственность несет хозяин квартиры. Посмотрите жилищный кодекс - там описаны права и обязанности нанимателя и наймодателя.

Если вас все устраивает , но не соглашайтесь на перенос. Вероятно, мастер просто хочет больше денег получить т.к. это увеличивает объём работ.

VasilyKubikov, почему считаете что сразу все бабло рубить начинают. Ну будет не много дороже, ежели оставить полотенчик там где он есть, но он там действительно не в тему. Глядя на этот санузел ежу понятно, что там работы не початый край, там тупо нужно менять ВСЁ! При таком раскладе две-три тыщи рублей погоду в кармане не сделают, но зато будет лучше. Не вижу особых проблем в переносе полотенчика на стену за горшком. Горшок можно сместить, трубы до полотенчика сделать с разуклонкой и не делать тонюсенькими трубами. там удаление то от стояка на метр получится. Нормальный сантехник нужен всего то, а не насосы подкачивающие :)

post-35955-0-82003700-1453469397_thumb.jpg

полотенчик там где он есть, но он там действительно не в тему
Почему не в тему. Как раз ванна рядом, до полотенца тянуться не надо 

Не забываем установить аватар, заполнить профиль, и создать свой блог

https://homemasters.ru/

Таки там место душевой лейке, зеркалу, полочке, мыльницам и т.д. И полотенцем же всё равно чаще пользуешься не в ванне, а так руки помыть, морду умыть... :) Т.е. полотенчик больше для повседневного полотенца, а так сказать банное и на отдельном крючечке повисит. Я бы убрал его оттуда.

Таки там место душевой лейке, зеркалу, полочке, мыльницам и т.д. И полотенцем же всё равно чаще пользуешься не в ванне, а так руки помыть, морду умыть
 
Умывальник(который уберется вместо него будет машинка)
 

Не забываем установить аватар, заполнить профиль, и создать свой блог

https://homemasters.ru/

А ну тогда ...УПС... не дочитал. В кухню машинку никак? Без рукомойника то неудобно как то.

На кухню не получится, комбинация такая выходит, газ. плита., тумбочка, умывальник. холодильник с противоположной стороны или в коридоре. Если ставить машинку в кухне тогда все пасочки кухонные будут или на верхних полках что не удобно или в машинке.. так что машинка пока остается в ванной. А вопрос с зеркалом зерало будет с противоположной стороны полотенчику... или рассматриваю вариант полотенчика ЗА унитазом так сказать на спине.. только вот не уверена что так получиться...


по моим соображениям не удобно головой упираться в полотенчик. + при этом полотенчики которые будут там висеть реально будут съезжать оттуда при малейшем прикосновении))


дело даже не в объеме работ, а в удобстве... как я понимаю полотенчик должен выполнять свою функцию сушить и висеть в нужном месте... но другого разумного места я не могу придумать даже если просто оставить стены по другому в ванную нечего не получится всунуть


моя фантазия нашла выход))) нишу разрыть на раздвижные двери. и перекрыть это полотенчиком... там где он сейчас место освободиться для полок и зеркал... а со спины туалета он точно мешать не будет)) ТАКАЯ КОНСТРУКЦИЯ РЕАЛЬНА?

post-103637-0-37724000-1453474026_thumb.jpg

Полностью поддерживаю Вашего сантехника и pavlik-a123. Полотенчик именно на стенку рядом с унитазом просится, и не думайте что будет мешать.

post-58400-0-98992300-1453473990_thumb.jpg Вот к примеру. Моя дочка-привереда ни разу за три года не пожаловалась

ВЫ же знаете как женщина думает... в начале фантазия. потом говорит. потом думает. потом говорит, а потом обдумывает и соглашается так как предложил мужчина, так как доводов чтоб переубедить уже нет...У вас вижу совсем близко к унитазу... Точно удобно?? МНе Ваша полочка понравилась расскажите где раздобыли?

Не мешает, точно. Комплект раковина с навесным подстольем + Полка с зеркалом весь комплект брали в ЛеруаМерлен. Там довольно большой выбор, и не дорого.

клас))) осталось дойти до этого гипермаркета...  вот только с дизайном ванной определимся и бюджет сведет на то*что необходимо...

Для публикации сообщений создайте учётную запись или авторизуйтесь

Вы должны быть зарегистрированным пользователем, чтобы оставить комментарий

Создать учетную запись

Зарегистрируйтесь в нашем сообществе.

Зарегистрироваться

Войти

Уже есть аккаунт? Войти в систему.

Войти

Или войти с помощью одного из сервисов



  • Наши рекомендации

    • Кажись всё или строительный пылесос с тройной мультициклонной ступенью очистки
      Кажись всё или строительный пылесос с тройной мультициклонной ступенью очистки

        • Нравится
      • 16 ответов
    • Как построить теплый дом, не тратя лишних денег
      Строительство гостевого дома решил выделить в отдельную тему, так будет меньше путаницы.


        • Спасибо
        • Нравится
      • 256 ответов
    • Дома из сруба: идеальное сочетание уюта и прочности.
      Строительство собственного дома является важной вехой в жизни любого человека, поскольку оно знаменует собой важное событие. Выбор строительных материалов имеет огромное значение для создания теплого и функционального жилища. На протяжении всей древней истории древесина была распространенным материалом для строительства домов, что отразилось на различных культурах мира.

      • 0 ответов
    • Газовые котлы: эффективное, экономичное и экологичное решение для отопления вашего дома
      В современном мире, где комфорт и устойчивость стали ключевыми аспектами повседневной жизни, выбор правильного источника отопления дома становится особенно актуальным. Газовые котлы, сочетая в себе преимущества эффективности, экономичности и экологичности, представляют собой одно из наиболее популярных решений для обеспечения комфортной температуры в жилых и коммерческих помещениях.

      • 0 ответов
    • Подходы к ремонту старых домов в России
      В России сотни тысяч старых домов, многие из которых являются не только свидетельством исторического наследия, но и отражением уникальной культуры и традиций страны. Эти дома, будь то деревянные избы или старинные каменные постройки, сохраняют в себе дух времени и рассказывают историю поколений.

      • 0 ответов
    • Аккумуляторные пилы  SCW и  SCM  22-A
      После того как провёл тесты, приступил к самому главному. Поменять диски местами, и проверить, как инструмент на это отреагирует, ведь они внешнее и походу внутренне практически одинаковые, пила по дереву конечно более навороченее, есть настройки угла наклона и можно на шину посадить через адаптер.

      • 4 ответа
    • Вторая жизнь дивана: искусство ремонта мягкой мебели своими руками
      В эпоху беспрерывного потребления и стремления к новизне, ремонт старой мягкой мебели своими руками приобретает не просто практическое, но и глубоко философское значение. Это действие как знак уважения к труду мастеров, которые вложили свое мастерство в создание диванов, кресел и пуфов, и как воплощение идеи устойчивого потребления. С каждым возвращенным к жизни предметом мебели, мы не только сохраняем историю и уникальность каждого изделия, но и противостоим бездумному обновлению интерьера за счет экологии и рационального использования ресурсов.

        • Нравится
      • 0 ответов
    • Люк для кошек своими руками
      Разумеется давно придуманы и продаются специальные лючки для кошек, которые можно врезать в дверь, но мы ведь не ищем легких путей . Да и по зоомагазинам я не хожу, а "гугление" показало, что такие люки для кошек стоят относительно не дешево. В то же время под рукой были два "копеечных" сантехнических пластиковых лючка для ГКЛ. Все что оставалось, так это обломать фиксаторы крышек, что бы они открывались в обе стороны, ровно выпилить отверстие в двери, да вклеить симметрично эти лючки.

      То, что получилось видно на фото. Разумеется это не для тех, у кого "дизайнерский ремонт", но для обыкновенной квартиры вполне подходит. Недостатков не замечено, животных и людей всё устраивает .


      Реакцию форумчан на этот люк можно узнать в этой теме https://homemasters.ru/...me/?p=330637

        • Ого
      • 6 ответов
×
×
  • Создать...

Важная информация

Мы разместили cookie-файлы на ваше устройство, чтобы помочь сделать этот сайт лучше. Вы можете изменить свои настройки cookie-файлов, или продолжить без изменения настроек.